Google opatentowało drony ratownicze

Wojciech OnyśkówSkomentuj
Google opatentowało drony ratownicze
Jak podaje serwis Popular Science, Google otrzymało w tym tygodniu patent dotyczący usługi, która umożliwi wezwanie na miejsce zdarzenia drona ratowniczego.

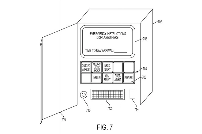
Google Drone Callbox, bo tak się nazywa, będzie wysyłać latającego drona ze specjalistycznym sprzętem do nagłego przypadku. Użytkownik, który wezwie pomoc, wskaże również, co dokładnie się dzieje. Dzięki temu stacja będzie w stanie oddelegować odpowiedniego drona.

Jako przykład podaje się np. nagły wstrząs anafilaktyczny lub atak serca. Dzięki szybkiej reakcji i geolokalizacji, dron dotrze na miejsce znacznie szybciej, oferując defibrylator lub przykładowo zastrzyk z adrenaliną.

Natychmiastowa reakcja i szybka pomoc będzie mogła zwiększyć szanse na przeżycie. W międzyczasie do poszkodowanego będzie bowiem jechać tradycyjna pomoc, złożona z lekarzy.

Google wyjaśnia w patencie, że dron nie ma być zastępstwem prawdziwej pomocy. Ma po prostu przyspieszyć czas reakcji w oczekiwaniu na inne służby.

To oczywiście tylko patent i nie oznacza, że Google faktycznie pracuje nad taką usługą. Być może jednak w przyszłości pierwsza pomoc niesiona przez drony będzie na porządku dziennym.

Źródło: Popular Science

Wojciech Onyskow