Już rok temu producent złożył wniosek patentowy, w którym opisuje działanie technologii, lecz dopiero teraz jego treść została opublikowana ma łamach amerykańskiego Urzędu Patentowego.
Na dzień dzisiejszy reklamodawcy bazują na geofiltrach, pobierających informacje o współrzędnych GPS. Prawdopodobnie wkrótce zaczną stosować również filtry fotograficzne.
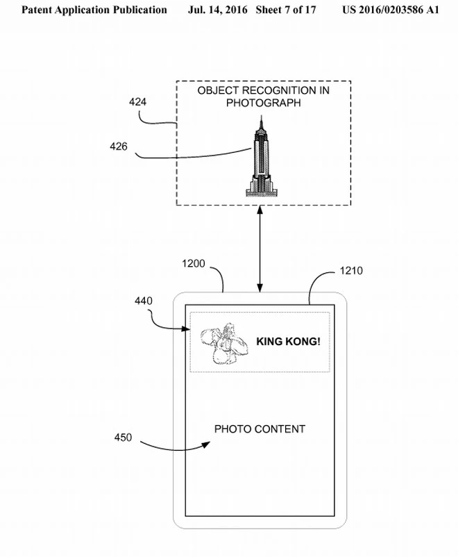
W patencie podano przykład nowojorskiego drapacza chmur, na którym uwieszony jest King Kong.

Za inny przykład niech posłuży snap z filiżanką kawy, na który nałożono reklamę zachęcającą do wypicia kawy w pobliskiej kawiarni. Gdy z kolei stworzymy snapa z konkretnym posiłkiem, poznamy liczbę zawartych w nim kalorii.

Na chwilę obecną nie wiadomo, kiedy nowy pomysł Snapchata zostanie wcielony w życie.
Źródło: theverge.com