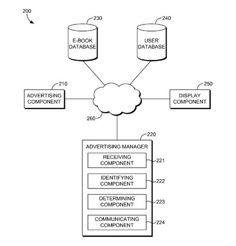
Nowy patent, o którym mowa, otrzymał nazwę „Systemy i metody świadczenia kontekstowej reklamy przedstawianej użytkownikowi za pośrednictwem e-booków.” Jak widać na załączonym rysunku, w patencie zastosowano zasadę, która dominuje w reklamie internetowej. Chodzi o połączenie danych zawartych w profilu użytkownika z zawartością strony. Na tej podstawie system wygeneruje reklamy, które powinny być dopasowane do zainteresowań użytkownika.
Dobrą wiadomością jest to, że Microsoft nie wyprodukował żadnego e-czytnika oraz to, że międzynarodowe korporacje, takie jak Microsoft, posiadają o wiele więcej patentów niż faktycznie wykorzystują. Istnieje jednak szansa na partnerstwo Microsoft z Barnes and Noble, producentem popularnych e-czytników Nook. Jeśli dojdzie do ścisłej współpracy, patent może zostać wykorzystany. Czy propozycję emisji reklam w książkach można uważać za rozsądne posunięcie?
Źródło: TechRadar
