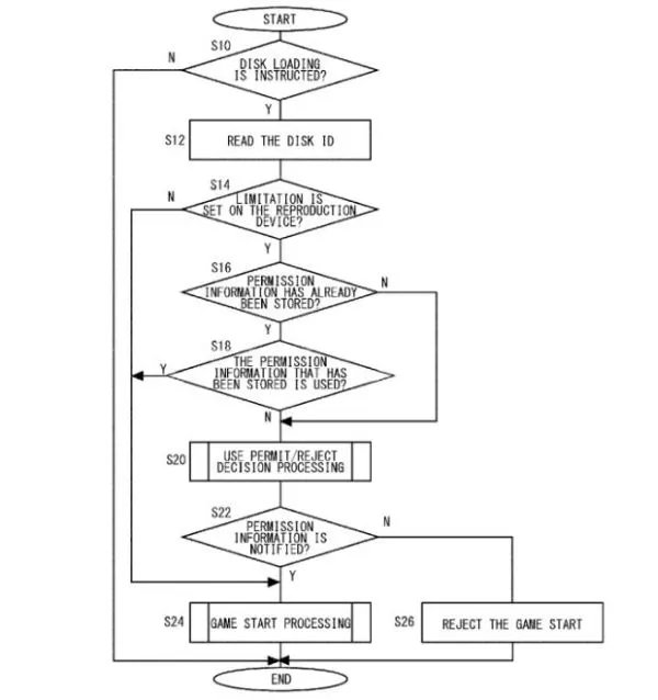
Oprócz szczegółowej prezentacji graficznej, Sony opisało również sposób w jaki sprawdzana będzie płyta z grą przy włożeniu do czytnika konsoli. Po uruchomieniu dowolnego tytułu, system sprawdzi tzw. „Electronic Content Processing System„. Jest to nic innego jak numer seryjny gry, który automatycznie zostaje przypisany modelowi konsoli na jakiej została odpalona. Konsola będzie w stanie automatycznie pobrać przypisany numer ID, zaś w przypadku wcześniejszego zużycia numeru, na ekranie pojawi się specjalny komunikat informujący o braku zgodności z systemem. W konsekwencji gra nie będzie możliwa do uruchomienia na tej konsoli.

Źródło: Neowin