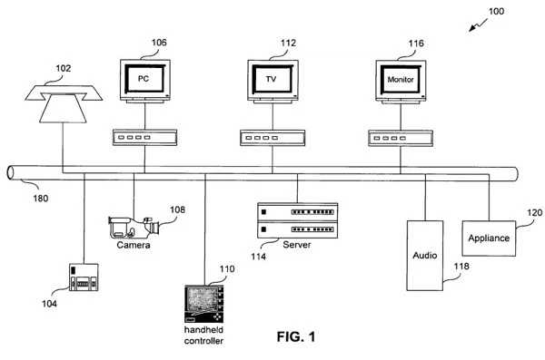
Niedawno Microsoft wykupił firmę R2 Studios, do której należał interesujący patent. Chodzi mianowicie o specjalną technologię zdalnego sterowania, która umożliwić ma kontrolę wielu urządzeń za pomocą jednego kontrolera. Jak donosi serwis GeekWire, przejęcie firmy zostało przemyślane pod kątem rozwoju nowej konsoli, która jednak będzie obsługiwać rozmaite urządzenia oraz usługi powiązane z kontem Microsoftu. Nie podano jeszcze czy będzie to specjalny kontroler, czy też technologia będzie wprowadzana do poszczególnych urządzeń. Wiadomo z kolei, że będziemy mogli sterować m.in. komputerem, telewizorem, monitorem lub urządzeniami mobilnymi.
Obecnie brak informacji dotyczącej daty wprowadzenia na rynek nowego patentu. Niewykluczone jednak, że pojawi się wraz z następcą konsoli Xbox 360. Trzeba przyznać, że marka Xbox rozwija się w błyskawicznym tempie. Analitycy szacują już, że za kilka lat może nawet zastąpić nazwy innych popularnych usług jak choćby Skype czy Bing, jednak są to póki co wstępne prognozy.
Źródło: GeekWire
