Nie przegap: Netflix nie ma litości. Dopłaty za współdzielenie konta pojawią się lada moment
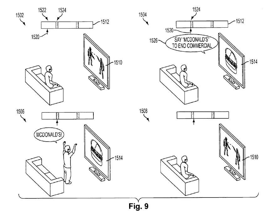
Wykrzycz nazwę firmy, a ominiesz reklamę
Firma Sony złożyła na przestrzeni minionych lat jedne z najbardziej niepokojących wniosków patentowych ostatnich lat.
Pierwszy patent z 2009 roku opisuje przedziwną formę reklamy telewizyjnej, którą można pominąć wyłącznie poprzez wykrzyczenie nazwy marki. Tak, głos odbiorcy reklamy rejestrowałby mikrofon w pilocie lub telewizorze. Działanie techniki zaprezentowano na groteskowym wręcz rysunku, dołączonym do wniosku.
W oparciu o opis patentu i załączone doń grafiki można wywnioskować, że patent dotyczy interaktywnych form reklam. W reklamach proponowanych przez Sony dałoby się grać w gry, a nawet zamawiać produkty. Na ilustracjach widnieją zarówno komputer podłączony do telewizora, jak i konsola PlayStation. Konsola miała łączyć się z interaktywną usługą komercyjną, która następnie komunikuje się z reklamodawcą lub jedną z prawie tuzina sieci społecznościowych.
Pomysł nie przeszedł. Jeszcze. Aż przypomniałem sobie o serialu Black Mirror.
Polecamy: Tęsknisz za kultowymi dobranockami? Powróciły w nowej jakości
Telewizor Sony nie wyświetli zawsze tego, co chcesz
Drugi z patentów to pomysł na blokowanie wybranych treści na telewizorach Sony. Doprecyzujmy: teoretycznie chodzi o technologię umożliwiającą blokowanie treści pirackich, ale nie pochodzących z każdego źródła.
Patent opisuje moduł monitorujący legalność materiałów odtwarzanych na telewizorze. Jeżeli system wykryje, że treść pochodzi z nielegalnego źródła, materiał zostanie zablokowany, a urządzenie odmówi jego wyświetlenia.
Źródło: torrentfreak
Technologia nie jest doskonała, bowiem zakłada wykorzystanie bazy danych przypominającej czarną listę. Oznacza to, że patent omawia blokowanie jedynie treści pozyskiwanych bezpośrednio z sieci, a nie nagrywanych na przykład na dyski przenośne.
Obrońcy prywatności obawiają się, że od takiego patentu jest tylko jeden krok do blokowania treści niesprzyjających producentowi, niewygodnych politycznie lub jeszcze innych, z którymi pewnym grupom wpływów nie jest po drodze.
Patenty są albo nie są wprowadzane w życie
Z wnioskami patentowymi jest tak, że większość prezentowanych w nich technologii nie wchodzi nawet do codziennego użytku. Nierzadko jednak idee lub ich składowe są materializowane i stosowane w produktach trafiających na rynek. Nikt by chyba nie chciał, aby patent Sony trafił finalnie do telewizorów.
Konsument na szczęście zawsze może głosować za lub przeciwko takim decyzjom korporacji swoim portfelem.
Źródło: torrentfreak, creativebloq

