Samsung przymierza się do prezentacji pierwszego, w pełni działającego składanego smatfona. Firma poruszyła temat tego urządzenia podczas prezentacji modelu Galaxy S9 i S9+, jednak na ten moment dalej nie wiadomo, kiedy finalnie będziemy mogli zobaczyć sam projekt. Prezes działu mobilnego Koreańczyków upiera się iż dopiero wtedy, kiedy firma dopracuje go we wszystkich aspektach.
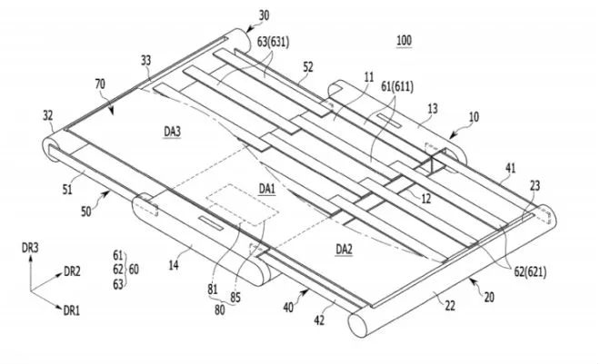
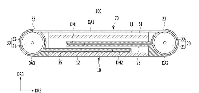
Samsung złożył kolejny wniosek patentowy, który opiera się o technologię, jaka może przydać się w przypadku składanego smartfona. Urządzenie na rycinach posiada ekran skonstruowany tak, aby móc go swobodnie rozsuwać oraz łączyć ponownie – wszystko to kosztem zyskania powierzchni lub też jej zminimalizowania. Według instrukcji wystarczy chwycić lewą i prawą stronę ekranu i po prostu… rozciągnąć go na boki. Natychmiastowo pojawi się o wiele większy obszar do grania czy też oglądania filmów.
Kiedy jednak nie będziemy chcieli używać szerokiego, większego ekranu, odpowiednie komponenty schowają się w obudowie smartfona i będą tam do momentu, w którym my o tym zadecydujemy. Brzmi futurystycznie? Jak najbardziej. Pamiętajcie jednak, że to wszystko póki co tylko zgłoszenie patentowe, tak więc może mieć ono niewiele wspólnego z rzeczywistością. Nie wiadomo, jak koreański gigant miałby bowiem rozwiązać problemy z wyświetlaczem wynikające z ograniczeń w samej technologii oraz jej elastyczności.
Można śmiało stwierdzić, że widoczny wyżej patent, to próba rozwinięcia zakrzywionego ekranu Edge w coś zupełnie nowego.
Pytanie tylko… w jakiej postaci finalnie zobaczymy ten pomysł w składanym smartfonie Samsunga?
Źródło: PatentlyMobile

