Z czasem notch w smartfonach stawał się coraz mniejszy, aż zaczęto go robić w rozmiarze takim, aby zmieścić jedynie obiektyw przedniego aparatu. Potem Samsung ogłosił swój projekt ekranu Infinity-O, a Huawei chcąc być szybszym zapowiedział dwa modele z otworem na kamerkę w ekranie: Huawei Nova 4 i Honor View 20.
Kolejnym pomysłem była wysuwana przednia kamera, albo cała górna ramka. Takie rozwiązanie znalazło się chociażby w Xiaomi Mi MIX 3 czy Honor Magic 2.
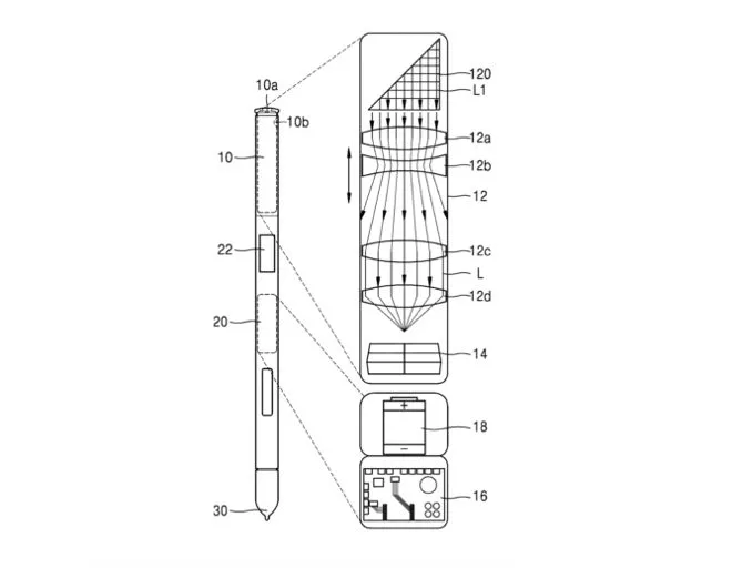
Jednak Samsung ma kolejny pomysł na pozbycie się wycięć w ekranie, który ujawnił zgłaszając patent związany z rysikiem S Pen. Jest to nieodłączny element serii Galaxy Note, który przy okazji wypuszczenia modelu Note 9 doczekał się łączności Bluetooth. Jednak nowa zmiana może być dużo bardziej interesująca.
Do USPTO trafił bowiem patent, który pozwoli Samsungowi wykorzystać aparat z zoomem optycznym w rysiku właśnie. W patencie Samsung cytuje, że smartfony zwykle wykorzystują zoom cyfrowy, aby zmniejszyć grubość urządzenia, pomimo tego, że zoom optyczny oferuje lepszą jakość obrazu. Patent opisuje równiez sposób osadzania czujnika optycznego w S Pen. Operować aparatem za pomocą zewnętrznego przycisku.
Wykorzystanie rysika S Pen jako podręcznego obiektywu aparatu, który możemy schować do obudowy byłoby świetnym rozwiązaniem. Seria Galaxy Note mogłaby dzięki temu otrzymać prawdziwy bezramkowy ekran, bez żadnych wycięć i otworów, jednocześnie prawie nic nie tracąc. Miejmy nadzieję, że Samsung dalej będzie pracować nad rozwojem swojego rysika i nie skończy się na złożonym patencie.
Źródło: Android Police
