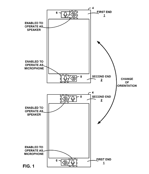
Jak można się domyślić, do pełnego zastosowania pomysłu potrzebny jest jeszcze czujnik żyroskopowy lub akcelerometr umieszczony wewnątrz urządzenia, który wykryje orientację telefonu. Na tej podstawie, smartfon uruchomi odpowiedni głośnik i mikrofon. Niestety, nie wiadomo, jak patent poradzi sobie w przypadku prowadzeniu rozmowy na leżąco…

Podobnie jak słuchawki tradycyjnych telefonów, obudowy smartfonów mają symetryczną konstrukcję. Ponieważ w ogólnym zarysie nie można odróżnić góry i dołu urządzenia, szczególnie, gdy nie posiada ono żadnego przycisku fizycznego, pomysł może się okazać trafny. Póki co, sam patent można potraktować jako ciekawostkę. Trudno uważać tę technologię za przyszły „top-feature” kolejnego Nexusa.
Źródło: TechRadar